公
益
课
Mastercam 2022
数控车自动编程及案例实操
2023年东莞高训中心现代制造业实训中心公益课持续开展中,本期上新的公益课程为《Mastercam 2022数控车自动编程及案例实操》,欢迎大家报名参加。
课程内容
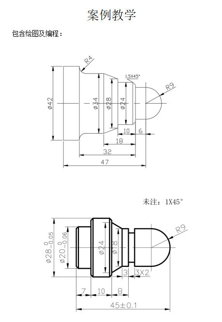
本次课程分为编程和实操两部分,具体内容如下:

部分案例:



课程时间地点
上课日期:2月14-16日
上课时间:9:00-11:30 14:00-17:30
上课地点:东莞市高技能公共实训中心(横沥镇职教城职教路3号)现代制造业实训中心

报名方式
点击文末阅读全文或扫描以下二维码,填写资料报名,注意:提交资料后将显示微信群二维码,请扫码进群,相关消息将在群里发布,提交资料不等于报名成功,最终名单也将在微信群里公布。报名截止时间:2月9日。

2023年公益课计划
2023年高训中心制造业公益课堂持续开展中,以下为暂定的课程安排表,具体安排将按实际情况作出调整。具体报名推文将陆续推送,一般在课程开始前7-10天,大家留意公众号啦!


